Densidad de masa lineal y la cuerda
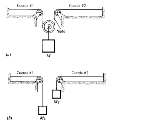
En la figura 27a, la cuerda #1 tiene una densidad de masa lineal de 3.31 g/m, y la cuerda # 2 de 4.87 g/m. Está bajo tensión debido al bloque colgante de masa M=511 g.(a) Calcule la velocidad de onda en cada cuerd. (b) El bloque se divide ahora en dos bloques (siendo

+M2 =M) y el aparato se modifica como se muestra en la 27b. Halle M1 y M, de modo las velocidades de onda de las dos cuerdas sean iguales.
1 respuesta
                    Respuesta de albert buscapolos Ing°                
                
        
        
            
                1
              
        
        
        
            
            
        
    
                

